江苏腾嘉测控技术有限公司
Jiangsu tengjia measurement and control technology co. LTD
400-998-9770

电磁式水表

浏览次数:6732
TJLDS电磁式水表采用特殊设计的传感器励磁系统和高性能锂电池供电系统,并采用了16位嵌入式超微功耗处理器,全数字量信号处理,具有工作稳定、测量精度高、抗干扰能力强等特点,支持GPRS无线传输,IP68防水,用于市政供水、污水处理等。
400-998-9770

工程师一对一服务
商品详情
技术选型
经典案例
售后承诺
联系我们

 

电池供电电磁流量计是专为水工业设计,满足城市供水及水资源管理系统(RTU),提供信息管理服务,确保准确的水费计算,广泛应用于现场无电源供应的场所,如:城市供水、污水处理、水利工程等水资源管理行业。

电池供电电磁流量计采用特殊设计的传感器励磁系统和高性能锂电池供电系统,并采用了16位嵌入式超微功耗处理器,全数字量信号处理,具有工作稳定、测量精度高、抗干扰能力强等特点,实现自动双向流量测量,现场瞬时流量、正反向累计总量显示,自诊断故障报警和GSM/GPRS数据无线远传等功能,用户通过强大的GSM/GPRS远程监控管理软件系统可实现流量数据的无线远传、存储等功能。

仪表结构简单、可靠,无可懂部件,工作寿命长

无截流阻流部件,不存在压力损失和流体堵塞现象

无机械惯性,响应快速,稳定性好,可应用于自动检测、调节程控系统

测量精度不受被测介质的种类及其温度、粘度、压力等物理量参数的影响,精度高

采用聚四氟乙烯或橡胶材质衬里和HC、HB、316L、钛等电极材料的不同组合可使用不同介质的需要

无线传输,GPRS远程在线设置和短信息远传设计功能 

3.6V电池供电,低功耗

 

1. 通用要求

a、为了安装、维护、保养方便,在流量计周围需保留足够的空间

b、避免流量计安装在温度变化很大或受到设备高温辐射的场所

c、流量计应安装在室内,如安装在室外,应避免阳光直射,必要时请安装防晒装置

d、避免流量计安装在含有腐蚀性气体的环境中

e、避免流量计安装在有强振动源、强磁场的场所

2. 工艺管要求

a、 上、下游工艺管的内径与流量计的内径应满足:0.98DN≤D≤1.05DN(DN:流量计内径;D:工艺管内径)

b、工艺管与流量计需同心,同轴偏差不大于0.05DN

2.1直管段 

使用直管段可防止介质因弯管、TT型三通、截止阀、变径管的影响而产生涡流或失真

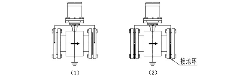
3.接地

流量计必须按规定接地,以保证流量计可靠的工作、防止操作人员收到电击

 

产品质量承诺

1. 严格按合同要求,提供符合设计标准,质量合格的产品。

2. 严格检查和控制原材料、原器件、配套件的进厂质量。

3. 作为设备总承包单位,对用户负全面质量责任,组织各协作配套生 产单位,联保设备整体质量,保证按合同完成任务。

4. 按合同规定向监造单位提供有关标准和图纸,并为监造提供方便。

5. 对设备制造过程中出现的质量缺陷及时向需方和监造代表通报,不 隐瞒,若设备缺陷超过合同规定的标准,供方无条件返修或更换。在安装和 试运过程中,设备出现质量问题,先处理问题,再分清责任,一切以满足工 程进度需要为准则。

技术服务承诺

1. 及时向需方提供按合同规定的全部技术资料和图纸,有义务在必要时邀请需方参与供方的技术设计审查 www.copyprot.com

2. 按需方要求的时间到现场进行技术服务best replica watches ,指导需方按供方的技术资料和图纸要求进行安装、分部与整套试运及试生产。

3. 对于需方选购的与合同设备有关的配套设备,供方应主动提供满足设备接口要求的技术条件和资料。

4. 按合同规定为需方举办有关设备安装、调试、使用、维护技术的业务培训班。加强售前、售中、售后服务,把”24 小时服务”,“超前服务”、“全过程服务”、终身服务“贯彻在产品制造、安装、调试、大修的全过程。接到需方反映质量问题信息,在 24 小时内作为答复或派出服务人员,尽快到达现场,做到用户不满意,服务不停止,24 小时服务热线:18015147885

 

 

 

 

江苏腾嘉测控技术有限公司

Jiangsu tengjia measurement and control technology co. LTD 

地  址:江苏省淮安市金湖县金北街道工业集中区二桥北路西侧21-23号

客服电话:400-998-9770

24小时服务热线:18015147885

  箱:56604841@qq.com